金鼎技術資料
聯系我們
- 聯系人:郭經理
- 傳真:010-69552656
- 電話:400-0346-119
- 電話:010-57113119
- 郵箱:506665119@qq.com
- 地址:北京通州區新華北路117號
金鼎JDJQ-1防爆緊急啟動/停動按鈕
時間:2018-10-15 11:00:37 品牌:
![[!--oldtitle--]](/d/file/qitimiehuo/2018-10-15/63c859c23f97bbfb341041c725d9050c.jpg)
一、JDJQ-1防爆緊急啟動/停動按鈕概述
JDJQ-1防爆緊急啟動/停動按鈕(簡稱按鈕)為非編碼型按鈕,適用于安裝在含有ⅡC級T6溫度組別的爆炸性氣體環境場所,當被保護區域發生火災時,按下緊急啟動按鈕,即可向氣體滅火控制盤發出信號,氣體滅火控制盤發出氣體噴灑命令,經延時,啟動氣體噴灑電磁閥。在延時期間,若現場人員確認無火災發生,可立即按下緊急停動按鈕,終止啟動。本產品可以和國內外任何廠家的火災報警控制器配套使用。按鈕造型美觀、結構緊湊、工作性能穩定可靠。為避免誤操作,啟動及停動按鈕用玻璃罩進行保護,當發生火警時,擊碎玻璃后在按下相應按鈕,使用后應及時更換玻璃片。
JDJQ-1啟停按鈕符合GB3836.1-2000《爆炸性氣體環境用電氣設備第1部分:通用要求》、GB3836.2--2000《爆炸性氣體環境用電氣設備第2部分:隔爆型”d”》的要求。經--指定的檢驗單位檢驗合格,并取得了防爆合格證書。
二、JDJQ-1防爆緊急啟動/停動按鈕技術特性
| 防爆標志 | □ExdⅡCT6;□ExdⅡBT6 |
| 工作電壓 | DC24V(指示燈電源) |
| 報警電流 | ≤10mA |
| 觸點容量 | 0.5A |
| 防護等級 | IP65 |
| 使用環境 | 溫度:-20℃~+50℃ 相對濕度:≤95%不結露 大氣壓力:80kPa~110kPa |
| 重量 | 1Kg |
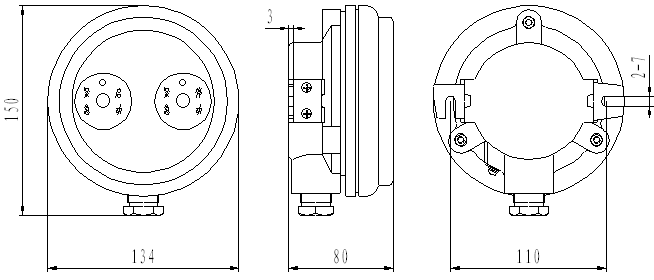
三、JDJQ-1防爆緊急啟動/停動按鈕結構特征:
1、防爆緊急啟動/停動按鈕外形實體圖如圖1所示:
2、JDJQ-1防爆緊急啟動/停動按鈕外形結構示意圖

四、JDJQ-1防爆緊急啟動/停動按鈕安裝與接線
1、安裝:用M6螺釘通過安裝爪,將按鈕固定在墻壁上。一般要求按鈕底部距地面高1.5m。電纜的引入裝置:ⅡB級采用封口螺帽壓緊密封圈結構;ⅡC級采用密封填料函結構。
注:產品向系統連接時,采用截面積S=1.0mm2的通用電纜連接。
2、接線:松開按鈕蓋的固定螺釘,將電纜線分別接在接線端子上(見下圖)。連線接好后,將按鈕蓋與體裝好。
E、E為DC24V電源(無極性);D、C為停止常開觸點;B、A為啟動常開觸點







