金鼎技術資料
聯系我們
- 聯系人:郭經理
- 傳真:010-69552656
- 電話:400-0346-119
- 電話:010-57113119
- 郵箱:506665119@qq.com
- 地址:北京通州區新華北路117號
金鼎JDSB防爆火災手動報警按鈕
時間:2018-10-10 09:17:24 品牌:
![[!--oldtitle--]](/d/file/baojingshebei/2018-10-10/e5c03b5b80d7f18a4fe93072e179d7a5.jpg)
一、JJDSB防爆火災手動報警按鈕概述
JDSB防爆火災手動報警按鈕(簡稱按鈕)為非編碼開關型按鈕,適用于安裝在含有ⅡC級T6溫度組別的爆炸性氣體環境場所,當人工確認火災事故發生后,按下此按鈕,即可向火災報警控制器發出報警信號。本產品可以和國內外任何廠家的火災報警控制器配套使用。按鈕采用專用鑰匙復位,具有自鎖功能,滿足-新國標要求,并能有效抵御灰塵污染和潮濕空氣的影響。
本產品符合GB3836.1—2000<<爆炸性氣體環境用電氣設備第1部分:通用要求>>、GB3836.2--2000<<爆炸性氣體環境用電氣設備第2部分:隔爆型”d”>>的要求。經--指定的檢驗單位檢驗合格,并取得了防爆合格證書。
二、JDSB防爆火災手動報警按鈕主要技術參數
防爆標志:ExdⅡCT6
電壓:DC24V(指示燈電源)
電流:0.5A
觸點數量:1個常開觸點
防護等級:IP65或無防護
使用環境:溫度:-20℃~+50℃;相對濕度:≤95%不結露;大氣壓力:80kPa~110kPa
重量:1kg
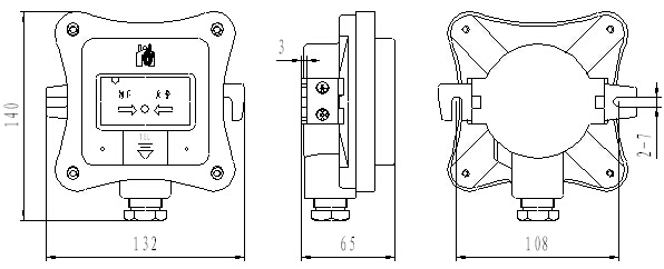
三、JDSB防爆手報外形圖

四、JDSB安裝與接線
1、安裝:根據現場情況可分為壁式安裝和立柱式安裝。壁式安裝用M6螺釘通過按鈕安裝爪將按鈕固定在墻壁上,一般要求按鈕底部距地面高1.5m。立式安裝須用專門立柱在地面上固定,其安裝要求與壁式安裝相同。電纜的引入裝置:ⅡB級采用封口螺帽壓緊密封圈結構;ⅡC級采用密封填料函結構。
注:產品向系統連接時,采用截面積S≥1.5mm2的通用電纜連接。
2、接線:松開按鈕蓋的固定螺釘,將電纜線分別接在常開接線端子上。連線接好后,將按鈕蓋與體裝好。
注:默認為一個常開觸點。(可根據用戶要求 設計兩個觸點,常開、常閉,選購需要與銷售經理確認)
五、注意事項
1、嚴禁在易燃易爆場所帶電拆卸。
2、安裝時不要損傷隔爆面,并保持其清潔。隔爆面緊固螺釘應均勻擰緊,注意隔爆面不要夾雜異物。
3、長期使用要定期檢測按鈕的性能是否完好,如失效或損壞時要由專業人員進行維修。







